Rudki, ul. Kolejowa 5
26-006 Nowa Słupia
Pon-Pt
07:00 - 15:00
+48 41 3177258
metalchem@metalchem.home.pl

Młyny do tworzyw UR-800

Młyn do tworzyw UR-800

Współcześnie, coraz większą uwagę przywiązuje się do ochrony środowiska. W związku z tym coraz prężniej rozwijany jest recykling. Zaprojektowaliśmy oraz wykonaliśmy młyn pozwalający na szybkie przetwarzanie tworzyw sztucznych, na przykład pojemników HDPE (stosowanych głównie do przechowywania chemii gospodarczej), butelek PET (wykorzystywanych do przechowywania produktów spożywczych) oraz innych plastików.

Nasze przedsiębiorstwo specjalizuje się w produkcji tego rodzaju urządzeń. Rozdrabnianie podawanego materiału odbywa się na wielu etapach, a ich efektem jest rozdrobniony produkt, zwany recyklatem. Dzięki możliwościom, jakie daje nasz młyn do tworzyw, recyklat jest produktem przygotowanym do powtórnego wykorzystania.

Oferowany przez nas młyn do tworzyw posiada wszelkie niezbędne atesty i może być wykorzystywany do skutecznego recyklingu. Nasz młyn cechuje się innowacyjnym zespołem tnącym. Dzięki zastosowaniu odpowiedniego przestawienia ostrzy noży zapewnia ciągłą pracę cięcia. Nasz młyn wykorzystuje aż 7 par po 4 noże na wirniku oraz 2 pary po 7 noży stałych, co zapewnia efektywne cięcie rozdrabnianego materiału. Wszystkie noże są wymienne, a dzięki segmentowej budowie wymieniamy tylko uszkodzony segment.

Charakterystyka techniczna

  • Średnica wirnika: 800 mm
  • Długość wirnika: 1400 mm
  • Wlot do młyna nożowego: 1404 x 930 mm
  • Wydajność: od 800 do 1200 kg/h (w zależności od rodzaju rozdrabnianych odpadów i wielkości oczek w sicie)
  • Napęd młyna nożowego: silnik 90 kW z falownikiem
  • Ilość noży wirnika: 7 par po 4 noże, przestawione względem siebie
  • Ilość noży nieruchomych: 2 pary po 7 szt.
  • Stopień rozdrobnienia: 6–30 mm (wymiary krajanki)

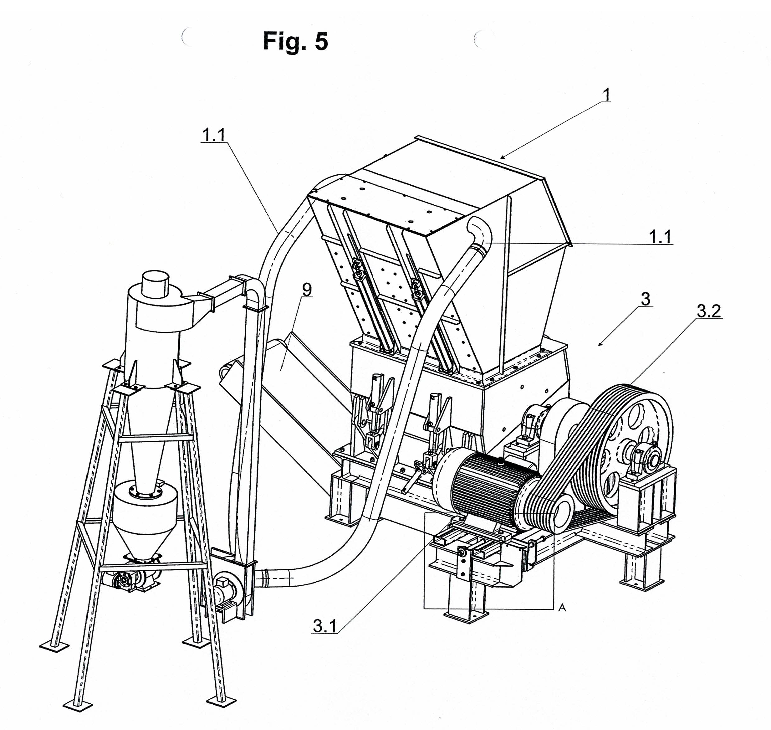
Rozdrabniacz UR-800

Jednowałowy, średnio obrotowy rozdrabniacz uniwersalny posiada kosz zasypu z dociskiem zwiększającym efektywność pracy, przewodami odprowadzającymi pyły z kosza zasypu i kurtyną uszczelniającą. Kosz zasypowy jest zamocowany do górnej, odchylanej części zespołu tnącego, wewnątrz której znajduje się wał nożowy napędzany zespołem napędowym w postaci silnika elektrycznego z przekładnią pasową.

Noże wału nożowego rozmieszczone są kaskadowo dla zapewnienia równomiernej pracy, a przy tym są symetryczne i tak zaprojektowane, że nie wymagają ustawiania podczas wymiany. Współpracujące z nimi szybko wymienne zespoły noży stałych mają pojedyncze noże takie same jak noże na wale nożowym. Zespoły noży stałych są zamocowane do korpusu dolnej części zespołu tnącego i są łatwo dostępne po uniesieniu górnej części.

Rozdrabniacz UR-800 widok 1
Rozdrabniacz UR-800 widok 2

Każdy zespół noży stałych składa się z listwowej obsady, do której przy pomocy łączników zamocowane są pojedyncze noże, a ponadto zawiera elementy ustalające i blokujące w postaci samohamownych klinów poruszanych siłownikami hydraulicznymi. Każdy pojedynczy nóż jest symetryczny i zawiera krawędź tnącą po obu stronach.

Część górna i dolna zespołu tnącego są zamykane dwoma zespołami krzywkowymi napędzanymi hydraulicznie. Budowa tego zamknięcia powoduje dodatkowy nacisk na zespół noża stałego, zwiększając siłę jego mocowania i sztywność. W dolnej części korpusu zamontowane jest wymienne sito granulacyjne otwierane i zamykane siłownikiem hydraulicznym. Do dolnej części zespołu tnącego i podstawy zamocowany jest zsyp separacyjny wyposażony w pneumatyczny odciąg pyłów. Pozbawiony pyłów granulat odprowadzany jest na zewnątrz przenośnikiem taśmowym lub śrubowym.